Траверса для биг-бэгов ТГ-ТББ
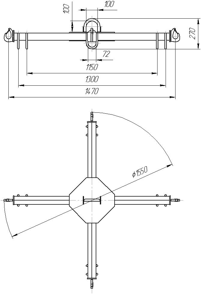
Траверса для биг-бэгов ТГ-ТББ1 (крестовая)
Траверса имеет самую простую крестовую конструкцию. На торцах траверсы приварены крюки с замками. Надежная и простая конструкция.
Технические характеристики:
|
Наименовние |
Грузо- подъемность, т |
Габариты траверсы (дхшхв), мм |
Масса траверсы, кг |
|---|---|---|---|
|
ТГ-ТББ1-1,0 |
1,0 |
800х800х300 |
15 |
|
ТГ-ТББ1-2,0 |
2,0 |
1550х1550х300 |
25 |
|
ТГ-ТББ1-4,0 |
4,0 |
2400х1200х300 |
57 |
Траверса для биг-бэгов ТГ-ТББ2 (листовая)
Траверса имеет самую простую крестовую конструкцию. Крюки траверсы расположены так что позволяют быстро надевать петли биг-бэгов и надежно их удерживать от самопроизвольного снятия . Надежная и простая конструкция.
Технические характеристики:
|
Наименовние |
Грузо- подъемность, т |
Габариты траверсы (дхшхв), мм |
Масса траверсы, кг |
|---|---|---|---|
|
ТГ-ТББ2-1,5 |
1,5 |
1300х1300 |
37 |
|
ТГ-ТББ2-3,0 |
3,0 |
1300х1300 |
45 |
Траверса линейная для биг-бэгов ТГ-ТББ3 (подъем за центр)
Траверса имеет линейную конструкцию. Крюки траверсы расположены на шарниках и работают таким образом, что позволяют быстро надевать петли биг-бэгов и надежно их удерживать от самопроизвольного снятия. При снятии нагрузки с траверсы, крюки самостоятельно без участия стропальщика поворачиваются и траверса освобождается от биг-бегов. Грузоподъемность траверсы может быть измененая по желанию Заказчика в зависимости от количества поднимаемых мешков.
Технические характеристики:
|
Наименовние |
Грузо- подъемность, т |
Габариты траверсы (дхшхв), мм |
Масса траверсы, кг |
|---|---|---|---|
|
ТГ-ТББ3-4,0 |
4,0 |
2300х300х800 |
250 |
Траверса линейная для биг-бэгов ТГ-ТББ4 (подъем за края)
Траверса имеет линейную конструкцию. Крюки траверсы расположены на шарниках и работают таким образом, что позволяют быстро надевать петли биг-бэгов и надежно их удерживать от самопроизвольного снятия. При снятии нагрузки с траверсы, крюки самостоятельно без участия стропальщика поворачиваются и траверса освобождается от биг-бегов. Грузоподъемность траверсы может быть измененая по желанию Заказчика в зависимости от количества поднимаемых мешков.
Технические характеристики:
|
Наименовние |
Грузо- подъемность, т |
Габариты траверсы (дхшхв), мм |
Масса траверсы, кг |
|---|---|---|---|
|
ТГ-ТББ4-4,0 |
4,0 |
2300х300х800 |
280 |
Траверса линейная для биг-бэгов ТГ-ТББ5 (подъем за центр)
Траверса имеет линейную конструкцию, высокопосаженную центральную проушину и шесть цепных ветвей для поднятия биг-бэгов (мешков соли).
Технические характеристики:
|
Наименовние |
Грузо- подъемность, т |
Габариты траверсы (дхшхв), мм |
Масса траверсы, кг |
|---|---|---|---|
|
ТГ-ТББ5-4,0 |
4,0 |
1500х250х350 |
80 |
|
ТГ-ТББ5-6,0 |
6,0 |
2300х250х800 |
230 |
Траверса для биг-бэгов ТГ-ТББА (автоматическая)
Траверса ТГ-ТББА для подъема и перемещения биг-бэгов, с автоматической расстроповкой.
Внешний вид:
Технические характеристики:
|
Наименовние |
Грузо- подъемность, т |
Габариты траверсы (дхшхв), мм |
Масса траверсы, кг |
|---|---|---|---|
|
ТГ-ТББА-4-4,0 |
4,0 |
1800х1200х300 |
150 |
|
ТГ-ТББА-6-6,0 |
6,0 |
2400х1200х300 |
230 |
Марикировка траверсы:
ТГ - Производитель ООО ПКФ "ТраверсГрупп"
ТББА - траверса для подъема и перемещения биг-бегов автоматическая;
6 - кол-во биг-бегов одновременно перемещаемых;
6,0 - грузоподъемность 6 т.
Траверса комплектуются цепными стропами. При опускании биг-бегов происходит автоматическая разстроповка стропов, наличие стропальщика не обязательно. Повышается культура и производительность труда. Экономически траверса ТГ-ТББА очень выгодна, позволяет сократить время погрузки, а соответственно и простой судна или вагонов.
На сегодняшний день наша компания ТраверсГрупп (торговая марка "TraversGroup") является лидером по производству грузоподъемных приспособлений (траверс, захватов, центраторов, подогревателей и др. техники) в Сибирском Федеральном Округе и имеет технические возможности проектирования и производства любого грузозахватного приспособления практически любой грузоподъемности.
Действует бесплатная доставка* по г. Новосибирску, а также гарантия низких цен. Подробности у менеджеров компании.
___________________________________________________________________
Заказать проектирование и купить траверсы или другое грузоподъемное оборудование оборудование для производства погрузо-разгрузочный работ вы можете обратившись к менеджерам компании по телефонам:
в г. Новосибирске: (383) 363-0-789, 363-0-678, 22-74-80
в г. Сургуте: (3462) 36-36-01, 63-87-80
в г. Омск: (3812) 48-99-87, 34-10-71 (Официальный дилер)
или отправляйте заявку с сайта.











