Новинка: коуши для энергетиков
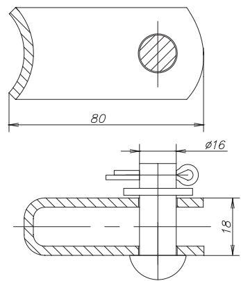
Нашим предприятием выпущены коуши для спиральных зажимов.
К-25-16 коуш используется в комплекте с натяжными спиральными зажимами марки НСО-А1-П-Дк(10/17), НСО-А1-Дк(8/13), НСО-А5-Дк(5/8).
Изготавливается из оцинкованной стали в климатическом исполнении УХЛ 1
ГОСТ 15150.
|
Наименование |
Разрушающая нагрузка, не менее, кН |
Масса, кг |
|
К-25-26 |
25,0 |
0,29 |







